| Sign In | Join Free | My futurenowinc.com |
|
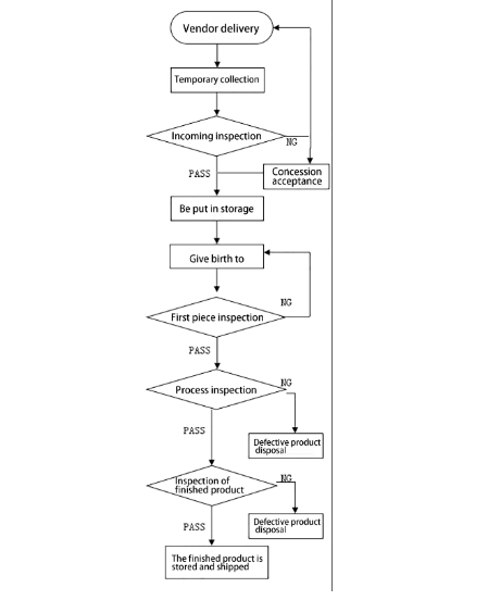
We have special QC department, testing every single equipment, from voltage to appearance, our workers will inspect strictly in order to supply the best and most stable machine for our customers.

|
|
|
|
|
|
Contact Person: MrsLin